專注聯軸器研發與制造 打造聯軸器行業領軍品牌
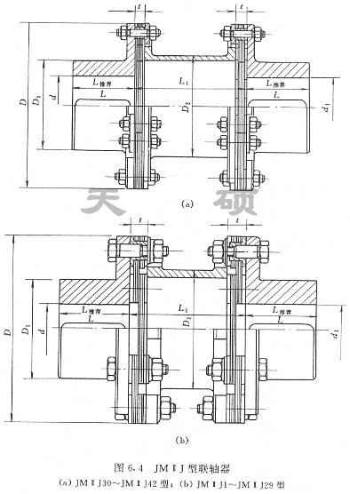
JMⅡJ型接中間軸型膜片聯軸器 (JB/T 9147-1999)
訂做各種分體,整體聯軸器膜片(工期1-7天)
●膜片聯軸器是由幾組膜片(不銹鋼薄扳)用螺栓交錯地與兩半聯軸器聯接,每組膜片由數片疊集而成,膜片分為連桿式和不同形狀的整片式。
● 膜片聯軸器靠膜片的彈性變形來補償所聯兩軸的相對位移,是一種高性能的金屬彈性元件撓性聯軸器,不用潤滑,結構較緊湊,強度高,使用壽命長,無旋轉間隙,不受溫度和油污影響,具有耐酸、耐堿、防腐蝕的特點,適用于高溫、高速、有腐蝕介質工況環境的軸系傳動,廣泛用于各種機械裝置的軸系傳動,如水泵(尤其是大功率、化工泵)、風機、壓縮機、液壓機械、石油機械、印刷機械、紡織機械、化工機械、礦山機械、冶金機械、航空(直升飛機)、艦艇高速動力傳動系統,經動平衡后應用于高速傳動軸系已比較普遍。
● 膜片聯軸器與齒式聯軸器相比,沒有相對滑動,不需要潤滑、密封,無噪聲,基本不用維修,制造較方便,可部分代替齒式聯軸器。JZM型膜片聯軸器是我國重點推廣應用的高性能撓性聯軸器,且工業發達國家已普遍采用。在實際應用中一般采用接中間軸型,以提高兩軸線偏移補償性能。

JMⅡJ型接中間軸型膜片聯軸器基本參數和主要尺寸 mm(JB/T 9147-1999)
